Dating back to at least 5,000 BC in Iran, beer is one of the oldest beverages humans have produced. Beer was described in ancient writings from Egypt and Mesopotamia, and today over 6,200 craft beer breweries are in operation in the United States alone.
Beer is so ingrained in our culture that patent authorities all over the world have set aside a specific classification for beer-related patents. The Cooperative Patent Classification (CPC) is a classification system that was jointly developed by the United States Patent and Trademark Office (USPTO) and the European Patent Office (EPO) to standardize the classification of patent documents according to subject matter. Today, many patent offices around the world use the CPC, which contains CPC Subclass C12C covering the “Brewing of Beer.”
Using the LexisNexis TotalPatent One® patent search platform, users have access to over 22,500 patent records pertaining to beer.
The CPC further divides “Brewing of Beer” into even more specific groups. Using TotalPatent One®, we took a more in-depth look into a few select beer patent groups filed globally.
Beer comprises four primary ingredients: grain, hops, yeast, and water. The grain in beer is typically barley that has begun to germinate. Germination activates enzymes in the barley that convert the barley’s starch and proteins into sugars amino acids that are essential to the fermentation process. This germinated or “malted” barley is called “malt,” and inventions covering the preparation malt are found in Group C12C 1/00.
To date, 465 patent records covering the preparation of malt are accessible through TotalPatent One. These patent records describe inventions related to the pretreatment of grains, germination, grain drying, and preparing malt extracts.
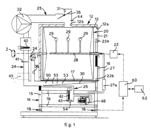
Below: An image from “Machine And Method For Malting Barley” (EP 2,377,915) filed with the EPO on April 15, 2011.
Hops are the flowers that add a bitter flavor to the beer. Hops have been used since the 9th century because of their antibacterial properties and to extend shelf life. Today, one of the most popular styles of beer is the India Pale Ale (IPA), a beer that was originally brewed with large amounts of hops to preserve it during its shipment to English troops in India.
Group C12C 3/00 covers drying, conserving, storing, packing hops, and today 585 hop-specific patent records are accessible by TotalPatent One users.
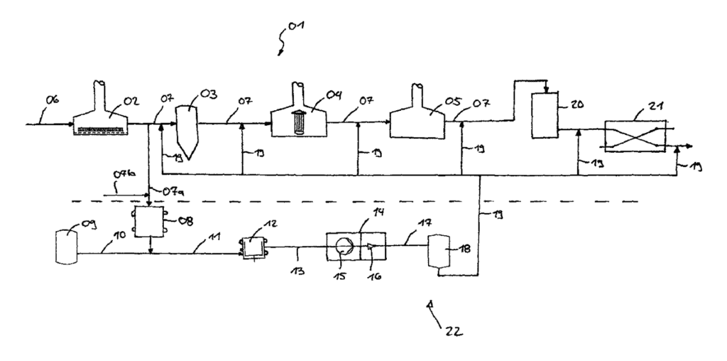
Below: A patent illustration from “Method For Adding Hops In Beer Manufacture” (Pat. No. 9,580,674) granted by the USPTO February 28, 2017.
During production, malted barley and hops are brewed in warm water to produce a sweet liquid called “wort.” Wort contains the sugars, flavors, and other goodness from the grains and hops, and it is essential for the fermentation process to occur.
TotalPatent One reveals 884 patent records in Group C12C 7/00, covering the preparation of malt for wort (grinding or crushing malt), boiling and cooling the wort, and clarifying the wort.
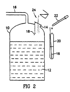
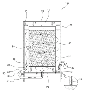
Below: A drawing from a Chinese patent publication titled “Apparatus For Producing Beer Wort” which published on October 20, 2017.
In the brewing process, yeast is introduced to the wort to metabolize the grain sugars to produces alcohol and carbon dioxide. Currently, 630 patent records are available covering the pitching of yeast, acidifying the wort, and carbonating beer after fermentation.
Below: An image from an EPO patent application filed October 18, 1996, titled “Method of Making An Alcoholic Beverage By Fermentation, And Fermentation Test Kit For Use In The Method” (Application Number 96935053.7).
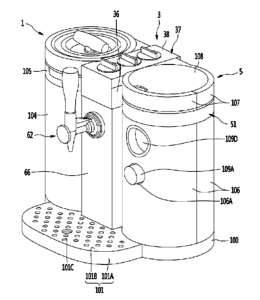
Group 12C 13/00 covers the devices used to brew beer. This group currently contains 923 patent records ranging from brew kettles and brewing equipment capable of brewing beer from the convenience of your home.
Below: Images from “Beverage Making Apparatus” (App. No. 15/598,681), a patent application filed May 18, 2017, that currently pending before the USPTO.
Beer unites the world, and TotalPatent One makes the world’s patents accessible to its users.
The TotalPatent One patent search platform simplifies the patent search process by providing access to millions of patent documents from patent authorities around the world. The intuitive TotalPatent One user interface facilitates several ways to tailor search queries and to filter down search results to only those that matter.
Learn more about TotalPatent One.